 |
| |
|
| |
 |
銷售專線: |
0510-83726583
0510-83700572 |
| |
| 服務/建議/監督電話: |
| 15370223880 |
| |
| 郵箱:lhdz@lhdz.com |
|
| |
|
|
|
|
|
LHCKJ50-160A/1140V
(CCC認證)(單相路燈控制用)
|
|
|
名稱 |
單位 |
數值 |
主
電
路 |
額定工作電壓(Ue) |
V |
1140 |
額定工作電流(Ie) |
A |
80,125,160 |
額定頻率(fr) |
Hz |
50 |
額定接通能力 |
A |
12Ie(AC-4) |
額定開斷能力 |
A |
10Ie(AC-4) |
工頻耐受電壓 |
相對地 |
kV |
4.2 |
真空斷口 |
kV |
10 |
雷電沖擊耐受電壓 |
kV |
8 |
控制電路 |
額定電壓(Us) |
V |
AC 220 |
額定功率(Ps) 電保持 |
VA |
≤250/40(吸合/保持) |
輔助電路 |
形式 |
|
1a |
額定值 |
|
AC 380V/3A |
控制電路、輔助電路對地工頻耐受電壓 |
kV |
2 |
額定操作頻率 |
長期 |
次/h |
300 |
短期 |
次/h |
2000 |
機械壽命 |
萬次 |
30 |
電壽命 |
萬次 |
10 |
機械特性 |
合閘時間 |
ms |
≤200 |
固有分閘時間 |
ms |
≤160 |
合閘彈跳 |
ms |
≤10 |
凈重 |
kg |
1.3 |
注:額定控制電壓亦可按用戶需要定制。 |
|
| |
|
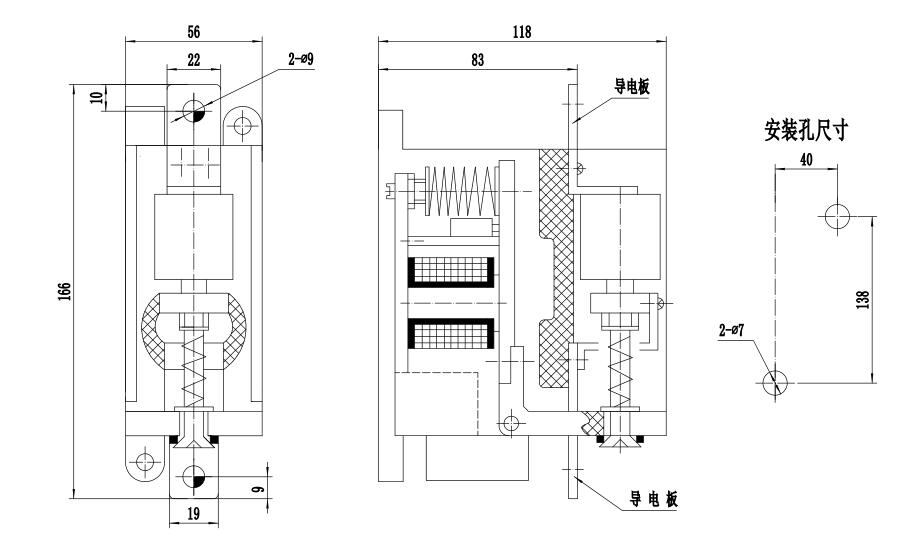
LHCKJ50結構圖 |
|
|
LHCKJ50-160A/1140V交流真空接觸器接線圖 |
|
| |
|